Ihre Services im Dashboard..
Registriert nutzen Sie das komplette Angebot.

DEHNcon-H

Bei der Verlegung von blanken, nicht isolierten Drähten der Fangeinrichtung unmittelbar auf dem Dach muss entsprechend dem Stand der Technik und der aktuellen Blitzschutznorm DIN EN 62305-3 (VDE 0185-305-3) der Trennungsabstand zu unterhalb der Dachfläche verlegten elektrischen und metallenen Systemen eingehalten werden. Unterhalb der Dacheindeckung befinden sich vielfach Leitungsinstallationen, Rohrsysteme und metallene Teile in unmittelbarer Nähe zu Fangeinrichtungen/Ableitungen und können ein Näherungsproblem darstellen. Die Lösung für solche Näherungsprobleme sind getrennte Fangeinrichtungen mit hochspannungsisolierten Ableitungen.

– Neues System für die Getrennte Fangeinrichtung von Sende-/Empfangsanlagen (Parabol-, terrestrische Antennen) oder von gesamten Gebäuden oder Gebäudeteilen
– Optisch angepasste Ausführung durch innere Verlegung der HVI light Leitung im Stützrohr, reduzierte Abmessung der Stützrohre (Al-Rohr 40x5 mm) mit geringem Gewicht des gesamten Aufbaus, auch für die Montage an bestehenden Antennenstandrohren
– Der innenliegende Endverschluss ist mit einem flexiblen NIRO-Band für den Anschluss an den Potentialausgleich am unteren Ende des Stützrohres herausgeführt
– Hochspannungsfeste isolierte Ableitung zum Einhalten des Trennungsabstandes zu elektrisch leitenden Teilen nach DIN EN 62305-3 (VDE 0185-305-3)
– Äquivalenter Trennungsabstand s ≤ 45 cm (in Luft) oder s ≤ 90 cm (fester Baustoff)
– Stützrohr mit Isolierstrecke aus glasfaserverstärktem Kunststoff (GFK) Rohr Ø30 mm
– Materialfaktor km = 0,7
– Farbe lichtgrau, UV-stabilisiert

Die HVI light Leitung erfüllt die Anforderungen nach DIN IEC/TS 62561-8 (VDE V 0185-561-8).

Details

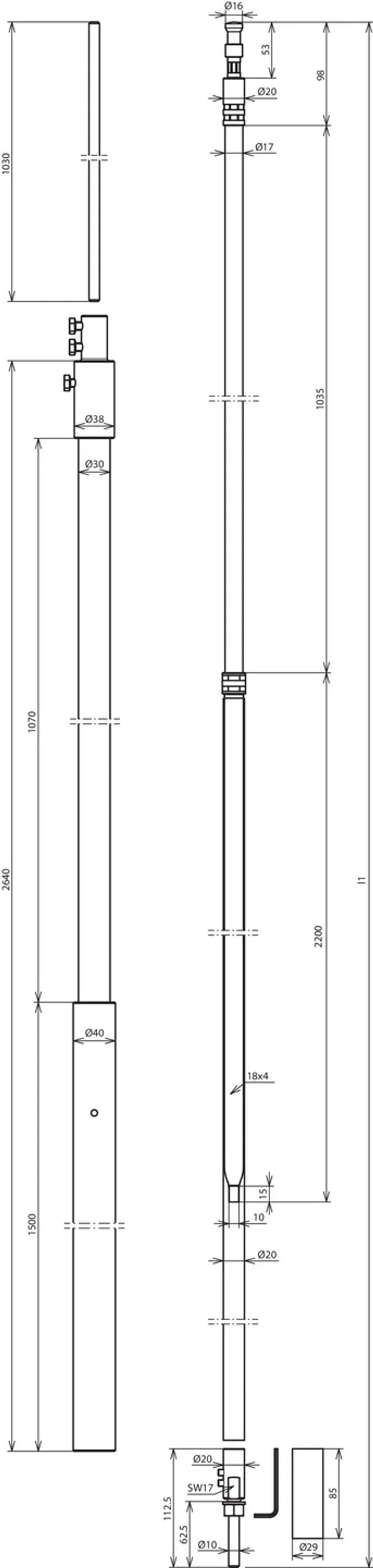
Detail – Stützrohr mit Leitungsverlegung.
lorem ipsum

HVI light Leitung im Stützrohr mit Fangspitze

Mit innenliegendem Endverschluss und Fangspitze NIRO Ø10 mm

4 Produkte

Art.-Nr. 819255 HVI LI 20 L6M SR1990 FSP500 GFK AL V2A

GTIN 4013364255371, Zolltarifnr. (EU): 85389099, Bruttogewicht: 6.84 kg, VPE: 1.00 Stk.

Vorgänger

Abbildungen

Weitere Information

DEHNcon-H HVI light Leitung im Stützrohr 1990mm mit Fangspitze 500mm
DEHNcon-H Getrennte Fangeinrichtung
z.B. von Sende-/Empfangsanlagen
(Parabol-, terrestrische Antennen).
Optisch angepasste Ausführung durch innere Verlegung
der HVI light Leitung im Stützrohr
Hochspannungsfeste isolierte Ableitung zum Einhalten
des Trennungsabstandes zu elektrisch leitenden Teilen
nach DIN EN 62305-3 (VDE 0185-305-3)
Äquivalenter Trennungsabstand s =< 45 cm (in Luft)
oder s =< 90 cm (fester Baustoff).
Die Stützrohre sind nach
Eurocode 1 (DIN EN 1991-1-4 + DIN EN 1991-1-4/NA) dimensioniert.
HVI light Leitung im Stützrohr verlegt, mit speziellem innenliegendem
Endverschluss und Fangspitze Ø10 mm Länge 500 mm.
Werkstoff Stützrohr: GFK / Al
Länge Stützrohr: 1990 mm
Durchmesser Ø Leitung: 20 mm
Farbe Leitung: grau ●
Werkstoff Leiter: Cu
Äquivalenter Trennungsabstand s (in Luft): ≤ 45 cm
Mindestbestelllänge: 6 m
Max. Böenwindgeschwindigkeit: (max. freie Länge 1890 mm, 1x HVI light innen) 240 km/h
Max. freie Länge: 1890 mm
Min. Einspannlänge: 600 mm
Normenbezug: DIN IEC/TS 62561-8 (VDE V 0185-561-8)

Fabrikat: DEHN
Typ: HVI LI 20 L6M SR1990 FSP500 GFK AL V2A
Art.-Nr.: 819255
oder gleichwertig.

Zertifikate

 

Technische Daten

Werkstoff Stützrohr GFK / Al
Länge Stützrohr 1990 mm
Länge Fangspitze 500 mm
Werkstoff Leiter Cu
Äquivalenter Trennungsabstand s (in Luft) ≤ 45 cm
Mindestbestelllänge 6 m
Max. Böenwindgeschwindigkeit (max. freie Länge 1890 mm, 1x HVI light innen) 240 km/h
Max. freie Länge 1890 mm
Min. Einspannlänge 600 mm
Normenbezug DIN IEC/TS 62561-8 (VDE V 0185-561-8)

Artikel 819255 wurde zum Merkzettel hinzugefügt.

Zum Merkzettel

Artikel 819255 wurde zum Warenkorb hinzugefügt.

Zum Warenkorb

Art.-Nr. 819256 HVI LI 20 L6M SR1990 FSP1000 GFK AL V2A

GTIN 4013364255388, Zolltarifnr. (EU): 85389099, Bruttogewicht: 7.14 kg, VPE: 1.00 Stk.

Vorgänger

Abbildungen

Weitere Information

DEHNcon-H HVI light Leitung im Stützrohr 1990mm mit Fangspitze 1000mm
DEHNcon-H Getrennte Fangeinrichtung
z.B. von Sende-/Empfangsanlagen
(Parabol-, terrestrische Antennen).
Optisch angepasste Ausführung durch innere Verlegung
der HVI light Leitung im Stützrohr
Hochspannungsfeste isolierte Ableitung zum Einhalten
des Trennungsabstandes zu elektrisch leitenden Teilen
nach DIN EN 62305-3 (VDE 0185-305-3)
Äquivalenter Trennungsabstand s =< 45 cm (in Luft)
oder s =< 90 cm (fester Baustoff).
Die Stützrohre sind nach
Eurocode 1 (DIN EN 1991-1-4 + DIN EN 1991-1-4/NA) dimensioniert.
HVI light Leitung im Stützrohr verlegt, mit speziellem innenliegendem
Endverschluss und Fangspitze Ø10 mm Länge 1000 mm.
Werkstoff Stützrohr: GFK / Al
Länge Stützrohr: 1990 mm
Durchmesser Ø Leitung: 20 mm
Farbe Leitung: grau ●
Werkstoff Leiter: Cu
Äquivalenter Trennungsabstand s (in Luft): ≤ 45 cm
Mindestbestelllänge: 6 m
Max. Böenwindgeschwindigkeit: (max. freie Länge 2390 mm, 1x HVI light innen) 200 km/h
Max. freie Länge: 2390 mm
Min. Einspannlänge: 600 mm
Normenbezug: DIN IEC/TS 62561-8 (VDE V 0185-561-8)

Fabrikat: DEHN
Typ: HVI LI 20 L6M SR1990 FSP1000 GFK AL V2A
Art.-Nr.: 819256
oder gleichwertig.

Zertifikate

 

Technische Daten

Werkstoff Stützrohr GFK / Al
Länge Stützrohr 1990 mm
Länge Fangspitze 1000 mm
Werkstoff Leiter Cu
Äquivalenter Trennungsabstand s (in Luft) ≤ 45 cm
Mindestbestelllänge 6 m
Max. Böenwindgeschwindigkeit (max. freie Länge 2390 mm, 1x HVI light innen) 200 km/h
Max. freie Länge 2390 mm
Min. Einspannlänge 600 mm
Normenbezug DIN IEC/TS 62561-8 (VDE V 0185-561-8)

Artikel 819256 wurde zum Merkzettel hinzugefügt.

Zum Merkzettel

Artikel 819256 wurde zum Warenkorb hinzugefügt.

Zum Warenkorb

Art.-Nr. 819257 HVI LI 20 L6M SR2640 FSP500 GFK AL V2A

GTIN 4013364255395, Zolltarifnr. (EU): 85389099, Bruttogewicht: 7.79 kg, VPE: 1.00 Stk.

Vorgänger

Abbildungen

Weitere Information

DEHNcon-H HVI light Leitung im Stützrohr 2640mm mit Fangspitze 500mm
DEHNcon-H Getrennte Fangeinrichtung
z.B. von Sende-/Empfangsanlagen
(Parabol-, terrestrische Antennen).
Optisch angepasste Ausführung durch innere Verlegung
der HVI light Leitung im Stützrohr
Hochspannungsfeste isolierte Ableitung zum Einhalten
des Trennungsabstandes zu elektrisch leitenden Teilen
nach DIN EN 62305-3 (VDE 0185-305-3)
Äquivalenter Trennungsabstand s =< 45 cm (in Luft)
oder s =< 90 cm (fester Baustoff).
Die Stützrohre sind nach
Eurocode 1 (DIN EN 1991-1-4 + DIN EN 1991-1-4/NA) dimensioniert.
HVI light Leitung im Stützrohr verlegt, mit speziellem innenliegendem
Endverschluss und Fangspitze Ø10 mm Länge 500 mm.
Werkstoff Stützrohr: GFK / Al
Länge Stützrohr: 2640 mm
Durchmesser Ø Leitung: 20 mm
Farbe Leitung: grau ●
Werkstoff Leiter: Cu
Äquivalenter Trennungsabstand s (in Luft): ≤ 45 cm
Mindestbestelllänge: 6 m
Max. Böenwindgeschwindigkeit: (max. freie Länge 2540 mm, 1x HVI light innen) 240 km/h
Max. freie Länge: 2540 mm
Min. Einspannlänge: 600 mm
Normenbezug: DIN IEC/TS 62561-8 (VDE V 0185-561-8)

Fabrikat: DEHN
Typ: HVI LI 20 L6M SR2640 FSP500 GFK AL V2A
Art.-Nr.: 819257
oder gleichwertig.

Zertifikate

 

Technische Daten

Werkstoff Stützrohr GFK / Al
Länge Stützrohr 2640 mm
Länge Fangspitze 500 mm
Werkstoff Leiter Cu
Äquivalenter Trennungsabstand s (in Luft) ≤ 45 cm
Mindestbestelllänge 6 m
Max. Böenwindgeschwindigkeit (max. freie Länge 2540 mm, 1x HVI light innen) 240 km/h
Max. freie Länge 2540 mm
Min. Einspannlänge 600 mm
Normenbezug DIN IEC/TS 62561-8 (VDE V 0185-561-8)

Artikel 819257 wurde zum Merkzettel hinzugefügt.

Zum Merkzettel

Artikel 819257 wurde zum Warenkorb hinzugefügt.

Zum Warenkorb

Art.-Nr. 819258 HVI LI 20 L6M SR2640 FSP1000 GFK AL V2A

GTIN 4013364255418, Zolltarifnr. (EU): 85389099, Bruttogewicht: 8.09 kg, VPE: 1.00 Stk.

Vorgänger

Abbildungen

Weitere Information

DEHNcon-H HVI light Leitung im Stützrohr 2640mm mit Fangspitze 1000mm
DEHNcon-H Getrennte Fangeinrichtung
z.B. von Sende-/Empfangsanlagen
(Parabol-, terrestrische Antennen).
Optisch angepasste Ausführung durch innere Verlegung
der HVI light Leitung im Stützrohr
Hochspannungsfeste isolierte Ableitung zum Einhalten
des Trennungsabstandes zu elektrisch leitenden Teilen
nach DIN EN 62305-3 (VDE 0185-305-3)
Äquivalenter Trennungsabstand s =< 45 cm (in Luft)
oder s =< 90 cm (fester Baustoff).
Die Stützrohre sind nach
Eurocode 1 (DIN EN 1991-1-4 + DIN EN 1991-1-4/NA) dimensioniert.
HVI light Leitung im Stützrohr verlegt, mit speziellem innenliegendem
Endverschluss und Fangspitze Ø10 mm Länge 1000 mm.
Werkstoff Stützrohr: GFK / Al
Länge Stützrohr: 2640 mm
Durchmesser Ø Leitung: 20 mm
Farbe Leitung: grau ●
Werkstoff Leiter: Cu
Äquivalenter Trennungsabstand s (in Luft): ≤ 45 cm
Mindestbestelllänge: 6 m
Max. Böenwindgeschwindigkeit: (max. freie Länge 3040 mm, 1x HVI light innen) 201 km/h
Max. freie Länge: 3040 mm
Min. Einspannlänge: 600 mm
Normenbezug: DIN IEC/TS 62561-8 (VDE V 0185-561-8)

Fabrikat: DEHN
Typ: HVI LI 20 L6M SR2640 FSP1000 GFK AL V2A
Art.-Nr.: 819258
oder gleichwertig.

Zertifikate

 

Technische Daten

Werkstoff Stützrohr GFK / Al
Länge Stützrohr 2640 mm
Länge Fangspitze 1000 mm
Werkstoff Leiter Cu
Äquivalenter Trennungsabstand s (in Luft) ≤ 45 cm
Mindestbestelllänge 6 m
Max. Böenwindgeschwindigkeit (max. freie Länge 3040 mm, 1x HVI light innen) 201 km/h
Max. freie Länge 3040 mm
Min. Einspannlänge 600 mm
Normenbezug DIN IEC/TS 62561-8 (VDE V 0185-561-8)

Artikel 819258 wurde zum Merkzettel hinzugefügt.

Zum Merkzettel

Artikel 819258 wurde zum Warenkorb hinzugefügt.

Zum Warenkorb

nach oben