Bahnerdungssystem
Unser DEHN-Bahnerdungssystem hat sich für den Einsatz in der Verkehrstechnik bewährt, da es speziell zur Erdung der Bewehrung von Betonteilen in der Nähe hochspannungsführender Elektroanlagen entwickelt wurde. Es dient zum einen für den Potentialausgleich von Betonbauwerken und zum anderen der Übertragung des Kurzschlussstromes in Fällen, bei denen es zu einem Abriss des Fahrdrahtes kommt.
Dazu stellt DEHN dem Anwender unterschiedliche Erdungsbrücken sowie Erdungsverbinder zur Verfügung, welche aufgrund variabler Endbefestigungen und Verbindungselementen ein umfangreiches Baukastensystem mit einer Vielzahl an Kombinationsmöglichkeiten bietet. Unsere DEHN-Bahnerdungssysteme verfügen über eine Freigabe der DB Netz AG.
Dazu stellt DEHN dem Anwender unterschiedliche Erdungsbrücken sowie Erdungsverbinder zur Verfügung, welche aufgrund variabler Endbefestigungen und Verbindungselementen ein umfangreiches Baukastensystem mit einer Vielzahl an Kombinationsmöglichkeiten bietet. Unsere DEHN-Bahnerdungssysteme verfügen über eine Freigabe der DB Netz AG.
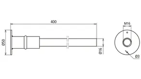
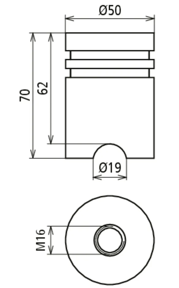
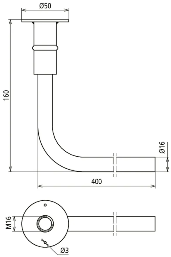
Edelstahl-Erdungsbrücken D BEB 16
Erdungsbrücke D BEB 16 zur inneren Erdung von Betonbauteilen
Die Bahnerdungsbrücke aus Volledelstahl wird zur Verwendung der inneren Erdung, Rückstromführung sowie dem Potentialausgleich im Nutzungsbereich von Bahnstrecken (Lärmschutzwänden) vorgesehen. Durch den angeschweißten Stahlwinkel wird ein einfaches Anschweißen an die Sockelbewehrung ermöglicht und stellt somit eine dauerhafte Verbindung sicher. Die Erdungsbrücke besitzt zudem eine technische Freigabe der DB Netz AG und kann dort planungssicher verwendet werden.
Die Bahnerdungsbrücke aus Volledelstahl wird zur Verwendung der inneren Erdung, Rückstromführung sowie dem Potentialausgleich im Nutzungsbereich von Bahnstrecken (Lärmschutzwänden) vorgesehen. Durch den angeschweißten Stahlwinkel wird ein einfaches Anschweißen an die Sockelbewehrung ermöglicht und stellt somit eine dauerhafte Verbindung sicher. Die Erdungsbrücke besitzt zudem eine technische Freigabe der DB Netz AG und kann dort planungssicher verwendet werden.
Art.-Nr. 419160
D BEB 16 - 105 / 3 EBS 15-03-19-38
Neu
Stück
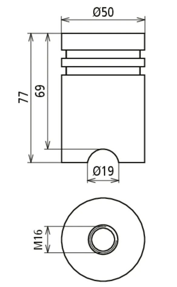
Betonstahl-Erdungsbrücken D BEB 2
Betonstahl-Erdungsbrücken
Die Erdungsbrücken sind zur Erdung, Rückstromführung sowie dem Potentialausgleich im Nutzungsbereich von Bahnstrecken vorgesehen. Diese Variante wird bündig zur Oberfläche eingebaut und mit dem gebogenen Bewehrungsstahl vor allem bei platzkritischen Einbausituationen an die erdende Bewehrung angeschweißt. Diese Erdungsbrücke besitzt zudem eine technische Freigabe der DB Netz AG und kann dort somit planungssicher verwendet werden.
Die Erdungsbrücken sind zur Erdung, Rückstromführung sowie dem Potentialausgleich im Nutzungsbereich von Bahnstrecken vorgesehen. Diese Variante wird bündig zur Oberfläche eingebaut und mit dem gebogenen Bewehrungsstahl vor allem bei platzkritischen Einbausituationen an die erdende Bewehrung angeschweißt. Diese Erdungsbrücke besitzt zudem eine technische Freigabe der DB Netz AG und kann dort somit planungssicher verwendet werden.
Art.-Nr. 419020
D BEB 2 / EBS 15-03-19
Stück
Betonstahl-Erdungsbrücken D BEB 3
Betonstahl-Erdungsbrücken
Die Erdungsbrücken sind zur Erdung, Rückstromführung sowie dem Potentialausgleich im Nutzungsbereich von Bahnstrecken vorgesehen. Diese Variante wird bündig zur Oberfläche eingebaut und mit dem Bewehrungsstahl an die erdende Bewehrung angeschweißt. Diese Erdungsbrücke besitzt zudem eine technische Freigabe der DB Netz AG und kann dort somit planungssicher verwendet werden.
Die Erdungsbrücken sind zur Erdung, Rückstromführung sowie dem Potentialausgleich im Nutzungsbereich von Bahnstrecken vorgesehen. Diese Variante wird bündig zur Oberfläche eingebaut und mit dem Bewehrungsstahl an die erdende Bewehrung angeschweißt. Diese Erdungsbrücke besitzt zudem eine technische Freigabe der DB Netz AG und kann dort somit planungssicher verwendet werden.
Art.-Nr. 419030
D BEB 3 / EBS 15-03-19
Stück
Kupfer-Kabel-Erdungsbrücken D BEB 4 / 5
Kupfer-Kabel-Erdungsbrücken
Die Erdungsbrücken sind zur Erdung, Rückstromführung sowie dem Potentialausgleich im Nutzungsbereich von Bahnstrecken vorgesehen. Diese Variante wird bündig zur Oberfläche eingebaut und mit der auf das Kupferkabel aufgepressten verkupferten Stahllasche an die erdende Bewehrung angeschweißt. Die Flexibilität des Kabels erleichtert dem Anwender den Einbau in die Bewehrung. Diese Erdungsbrücken besitzen zudem eine technische Freigabe der DB Netz AG und können dort somit planungssicher verwendet werden.
Die Erdungsbrücken sind zur Erdung, Rückstromführung sowie dem Potentialausgleich im Nutzungsbereich von Bahnstrecken vorgesehen. Diese Variante wird bündig zur Oberfläche eingebaut und mit der auf das Kupferkabel aufgepressten verkupferten Stahllasche an die erdende Bewehrung angeschweißt. Die Flexibilität des Kabels erleichtert dem Anwender den Einbau in die Bewehrung. Diese Erdungsbrücken besitzen zudem eine technische Freigabe der DB Netz AG und können dort somit planungssicher verwendet werden.
Art.-Nr. 419040
D BEB 4 / EBS 15-03-19
Stück
Kupfer-Kabel-Erdungsbrücken D BEB 4 / 5
Kupfer-Kabel-Erdungsbrücken
Die Erdungsbrücken sind zur Erdung, Rückstromführung sowie dem Potentialausgleich im Nutzungsbereich von Bahnstrecken vorgesehen. Diese Variante wird bündig zur Oberfläche eingebaut und mit der auf das Kupferkabel aufgepressten verkupferten Stahllasche an die erdende Bewehrung angeschweißt. Die Flexibilität des Kabels erleichtert dem Anwender den Einbau in die Bewehrung. Diese Erdungsbrücken besitzen zudem eine technische Freigabe der DB Netz AG und können dort somit planungssicher verwendet werden.
Die Erdungsbrücken sind zur Erdung, Rückstromführung sowie dem Potentialausgleich im Nutzungsbereich von Bahnstrecken vorgesehen. Diese Variante wird bündig zur Oberfläche eingebaut und mit der auf das Kupferkabel aufgepressten verkupferten Stahllasche an die erdende Bewehrung angeschweißt. Die Flexibilität des Kabels erleichtert dem Anwender den Einbau in die Bewehrung. Diese Erdungsbrücken besitzen zudem eine technische Freigabe der DB Netz AG und können dort somit planungssicher verwendet werden.
Art.-Nr. 419050
D BEB 5 / EBS 15-03-19
Stück
Kupfer-Kabel-Erdungsbrücken D BEB 4 / 5
Kupfer-Kabel-Erdungsbrücken
Die Erdungsbrücken sind zur Erdung, Rückstromführung sowie dem Potentialausgleich im Nutzungsbereich von Bahnstrecken vorgesehen. Diese Variante wird bündig zur Oberfläche eingebaut und mit der auf das Kupferkabel aufgepressten verkupferten Stahllasche an die erdende Bewehrung angeschweißt. Eine besonders hohe Flexibilität des Kabels erleichtert dem Anwender ganz wesentlich den Einbau in die Bewehrung. Diese Erdungsbrücken besitzen zudem eine technische Freigabe der DB Netz AG und können dort somit planungssicher verwendet werden.
Die Erdungsbrücken sind zur Erdung, Rückstromführung sowie dem Potentialausgleich im Nutzungsbereich von Bahnstrecken vorgesehen. Diese Variante wird bündig zur Oberfläche eingebaut und mit der auf das Kupferkabel aufgepressten verkupferten Stahllasche an die erdende Bewehrung angeschweißt. Eine besonders hohe Flexibilität des Kabels erleichtert dem Anwender ganz wesentlich den Einbau in die Bewehrung. Diese Erdungsbrücken besitzen zudem eine technische Freigabe der DB Netz AG und können dort somit planungssicher verwendet werden.
Art.-Nr. 419051
D BEB 5-FLEX / EBS 15-03-19
Stück
Kupfer-Kabel-Erdungsbrücken D BEB 4 / 5
Kupfer-Kabel-Erdungsbrücken
Die Erdungsbrücken sind zur Erdung, Rückstromführung sowie dem Potentialausgleich im Nutzungsbereich von Bahnstrecken vorgesehen. Diese Variante wird bündig zur Oberfläche eingebaut und mit der auf das Kupferkabel aufgepressten verkupferten Stahllasche an die erdende Bewehrung angeschweißt. Die Flexibilität des Kabels erleichtert dem Anwender den Einbau in die Bewehrung. Diese Erdungsbrücken besitzen zudem eine technische Freigabe der DB Netz AG und können dort somit planungssicher verwendet werden.
Die Erdungsbrücken sind zur Erdung, Rückstromführung sowie dem Potentialausgleich im Nutzungsbereich von Bahnstrecken vorgesehen. Diese Variante wird bündig zur Oberfläche eingebaut und mit der auf das Kupferkabel aufgepressten verkupferten Stahllasche an die erdende Bewehrung angeschweißt. Die Flexibilität des Kabels erleichtert dem Anwender den Einbau in die Bewehrung. Diese Erdungsbrücken besitzen zudem eine technische Freigabe der DB Netz AG und können dort somit planungssicher verwendet werden.
Art.-Nr. 419502
D BEB 5 - L1000 / EBS 15-03-19
Stück
Kupfer-Kabel-Erdungsbrücken D BEB 4 / 5
Kupfer-Kabel-Erdungsbrücken
Die Erdungsbrücken sind zur Erdung, Rückstromführung sowie dem Potentialausgleich im Nutzungsbereich von Bahnstrecken vorgesehen. Diese Variante wird bündig zur Oberfläche eingebaut und mit der auf das Kupferkabel aufgepressten verkupferten Stahllasche an die erdende Bewehrung angeschweißt. Die Flexibilität des Kabels erleichtert dem Anwender den Einbau in die Bewehrung. Diese Erdungsbrücken besitzen zudem eine technische Freigabe der DB Netz AG und können dort somit planungssicher verwendet werden.
Die Erdungsbrücken sind zur Erdung, Rückstromführung sowie dem Potentialausgleich im Nutzungsbereich von Bahnstrecken vorgesehen. Diese Variante wird bündig zur Oberfläche eingebaut und mit der auf das Kupferkabel aufgepressten verkupferten Stahllasche an die erdende Bewehrung angeschweißt. Die Flexibilität des Kabels erleichtert dem Anwender den Einbau in die Bewehrung. Diese Erdungsbrücken besitzen zudem eine technische Freigabe der DB Netz AG und können dort somit planungssicher verwendet werden.
Art.-Nr. 419503
D BEB 5 - L1500 / EBS 15-03-19
Stück
Kupfer-Kabel-Erdungsbrücken D BEB 4 / 5
Kupfer-Kabel-Erdungsbrücken
Die Erdungsbrücken sind zur Erdung, Rückstromführung sowie dem Potentialausgleich im Nutzungsbereich von Bahnstrecken vorgesehen. Diese Variante wird bündig zur Oberfläche eingebaut und mit der auf das Kupferkabel aufgepressten verkupferten Stahllasche an die erdende Bewehrung angeschweißt. Die Flexibilität des Kabels erleichtert dem Anwender den Einbau in die Bewehrung. Diese Erdungsbrücken besitzen zudem eine technische Freigabe der DB Netz AG und können dort somit planungssicher verwendet werden.
Die Erdungsbrücken sind zur Erdung, Rückstromführung sowie dem Potentialausgleich im Nutzungsbereich von Bahnstrecken vorgesehen. Diese Variante wird bündig zur Oberfläche eingebaut und mit der auf das Kupferkabel aufgepressten verkupferten Stahllasche an die erdende Bewehrung angeschweißt. Die Flexibilität des Kabels erleichtert dem Anwender den Einbau in die Bewehrung. Diese Erdungsbrücken besitzen zudem eine technische Freigabe der DB Netz AG und können dort somit planungssicher verwendet werden.
Art.-Nr. 419504
D BEB 5 - L2000 / EBS 15-03-19
Stück
Kupfer-Kabel-Erdungsbrücken D BEB 6 / 7
Kupfer-Kabel-Erdungsbrücken
Die Erdungsbrücken sind zur Erdung, Rückstromführung sowie dem Potentialausgleich im Nutzungsbereich von Bahnstrecken vorgesehen. Diese Variante wird als Erdungsdurchführung von Bauteilen verwendet indem sie beidseitig bündig zur Oberfläche eingebaut wird. Die Flexibilität des Kabels erleichtert dem Anwender den Einbau in die Bewehrung. Diese Erdungsbrücken besitzen zudem eine technische Freigabe der DB Netz AG und können dort somit planungssicher verwendet werden.
Die Erdungsbrücken sind zur Erdung, Rückstromführung sowie dem Potentialausgleich im Nutzungsbereich von Bahnstrecken vorgesehen. Diese Variante wird als Erdungsdurchführung von Bauteilen verwendet indem sie beidseitig bündig zur Oberfläche eingebaut wird. Die Flexibilität des Kabels erleichtert dem Anwender den Einbau in die Bewehrung. Diese Erdungsbrücken besitzen zudem eine technische Freigabe der DB Netz AG und können dort somit planungssicher verwendet werden.
Art.-Nr. 419060
D BEB 6 / EBS 15-03-19
Stück
Kupfer-Kabel-Erdungsbrücken D BEB 6 / 7
Kupfer-Kabel-Erdungsbrücken
Die Erdungsbrücken sind zur Erdung, Rückstromführung sowie dem Potentialausgleich im Nutzungsbereich von Bahnstrecken vorgesehen. Diese Variante wird als Erdungsdurchführung von Bauteilen verwendet indem sie beidseitig bündig zur Oberfläche eingebaut wird. Eine besonders hohe Flexibilität des Kabels erleichtert dem Anwender ganz wesentlich den Einbau in die Bewehrung. Diese Erdungsbrücken besitzen zudem eine technische Freigabe der DB Netz AG und können dort somit planungssicher verwendet werden.
Die Erdungsbrücken sind zur Erdung, Rückstromführung sowie dem Potentialausgleich im Nutzungsbereich von Bahnstrecken vorgesehen. Diese Variante wird als Erdungsdurchführung von Bauteilen verwendet indem sie beidseitig bündig zur Oberfläche eingebaut wird. Eine besonders hohe Flexibilität des Kabels erleichtert dem Anwender ganz wesentlich den Einbau in die Bewehrung. Diese Erdungsbrücken besitzen zudem eine technische Freigabe der DB Netz AG und können dort somit planungssicher verwendet werden.
Art.-Nr. 419061
D BEB 6-FLEX / EBS 15-03-19
Auslaufprodukt
Stück
Kupfer-Kabel-Erdungsbrücken D BEB 6 / 7
Kupfer-Kabel-Erdungsbrücken
Die Erdungsbrücken sind zur Erdung, Rückstromführung sowie dem Potentialausgleich im Nutzungsbereich von Bahnstrecken vorgesehen. Diese Variante wird als Erdungsdurchführung von Bauteilen verwendet indem sie beidseitig bündig zur Oberfläche eingebaut wird. Die Flexibilität des Kabels erleichtert dem Anwender den Einbau in die Bewehrung. Diese Erdungsbrücken besitzen zudem eine technische Freigabe der DB Netz AG und können dort somit planungssicher verwendet werden.
Die Erdungsbrücken sind zur Erdung, Rückstromführung sowie dem Potentialausgleich im Nutzungsbereich von Bahnstrecken vorgesehen. Diese Variante wird als Erdungsdurchführung von Bauteilen verwendet indem sie beidseitig bündig zur Oberfläche eingebaut wird. Die Flexibilität des Kabels erleichtert dem Anwender den Einbau in die Bewehrung. Diese Erdungsbrücken besitzen zudem eine technische Freigabe der DB Netz AG und können dort somit planungssicher verwendet werden.
Art.-Nr. 419070
D BEB 7 / EBS 15-03-19
Stück
Kupfer-Kabel-Erdungsbrücken D BEB 6 / 7
Kupfer-Kabel-Erdungsbrücken
Die Erdungsbrücken sind zur Erdung, Rückstromführung sowie dem Potentialausgleich im Nutzungsbereich von Bahnstrecken vorgesehen. Diese Variante wird als Erdungsdurchführung von Bauteilen verwendet indem sie beidseitig bündig zur Oberfläche eingebaut wird. Eine besonders hohe Flexibilität des Kabels erleichtert dem Anwender ganz wesentlich den Einbau in die Bewehrung. Diese Erdungsbrücken besitzen zudem eine technische Freigabe der DB Netz AG und können dort somit planungssicher verwendet werden.
Die Erdungsbrücken sind zur Erdung, Rückstromführung sowie dem Potentialausgleich im Nutzungsbereich von Bahnstrecken vorgesehen. Diese Variante wird als Erdungsdurchführung von Bauteilen verwendet indem sie beidseitig bündig zur Oberfläche eingebaut wird. Eine besonders hohe Flexibilität des Kabels erleichtert dem Anwender ganz wesentlich den Einbau in die Bewehrung. Diese Erdungsbrücken besitzen zudem eine technische Freigabe der DB Netz AG und können dort somit planungssicher verwendet werden.
Art.-Nr. 419071
D BEB 7-FLEX / EBS 15-03-19
Stück
Kupfer-Kabel-Erdungsbrücken D BEB 9 / 10
Kupfer-Kabel-Erdungsbrücken
Die Erdungsbrücken sind zur Erdung, Rückstromführung sowie dem Potentialausgleich im Nutzungsbereich von Bahnstrecken vorgesehen. Diese Variante stellt eine nicht sichtbare Verbindung innerhalb des Betons dar, indem die auf das Kupferkabel aufgepressten verkupferten Stahllaschen an die erdende Bewehrung angeschweißt werden. Die Flexibilität des Kabels erleichtert dem Anwender den Einbau in die Bewehrung. Diese Erdungsbrücken besitzen zudem eine technische Freigabe der DB Netz AG und können dort somit planungssicher verwendet werden.
Die Erdungsbrücken sind zur Erdung, Rückstromführung sowie dem Potentialausgleich im Nutzungsbereich von Bahnstrecken vorgesehen. Diese Variante stellt eine nicht sichtbare Verbindung innerhalb des Betons dar, indem die auf das Kupferkabel aufgepressten verkupferten Stahllaschen an die erdende Bewehrung angeschweißt werden. Die Flexibilität des Kabels erleichtert dem Anwender den Einbau in die Bewehrung. Diese Erdungsbrücken besitzen zudem eine technische Freigabe der DB Netz AG und können dort somit planungssicher verwendet werden.
Art.-Nr. 419090
D BEB 9 / EBS 15-03-19
Stück
Kupfer-Kabel-Erdungsbrücken D BEB 9 / 10
Kupfer-Kabel-Erdungsbrücken
Die Erdungsbrücken sind zur Erdung, Rückstromführung sowie dem Potentialausgleich im Nutzungsbereich von Bahnstrecken vorgesehen. Diese Variante stellt eine nicht sichtbare Verbindung innerhalb des Betons dar, indem die auf das Kupferkabel aufgepressten verkupferten Stahllaschen an die erdende Bewehrung angeschweißt werden. Eine besonders hohe Flexibilität des Kabels erleichtert dem Anwender ganz wesentlich den Einbau in die Bewehrung. Diese Erdungsbrücken besitzen zudem eine technische Freigabe der DB Netz AG und können dort somit planungssicher verwendet werden.
Die Erdungsbrücken sind zur Erdung, Rückstromführung sowie dem Potentialausgleich im Nutzungsbereich von Bahnstrecken vorgesehen. Diese Variante stellt eine nicht sichtbare Verbindung innerhalb des Betons dar, indem die auf das Kupferkabel aufgepressten verkupferten Stahllaschen an die erdende Bewehrung angeschweißt werden. Eine besonders hohe Flexibilität des Kabels erleichtert dem Anwender ganz wesentlich den Einbau in die Bewehrung. Diese Erdungsbrücken besitzen zudem eine technische Freigabe der DB Netz AG und können dort somit planungssicher verwendet werden.
Art.-Nr. 419091
D BEB 9-FLEX / EBS 15-03-19
Auslaufprodukt
Stück
Kupfer-Kabel-Erdungsbrücken D BEB 9 / 10
Kupfer-Kabel-Erdungsbrücken
Die Erdungsbrücken sind zur Erdung, Rückstromführung sowie dem Potentialausgleich im Nutzungsbereich von Bahnstrecken vorgesehen. Diese Variante stellt eine nicht sichtbare Verbindung innerhalb des Betons dar, indem die auf das Kupferkabel aufgepressten verkupferten Stahllaschen an die erdende Bewehrung angeschweißt werden. Die Flexibilität des Kabels erleichtert dem Anwender den Einbau in die Bewehrung. Diese Erdungsbrücken besitzen zudem eine technische Freigabe der DB Netz AG und können dort somit planungssicher verwendet werden.
Die Erdungsbrücken sind zur Erdung, Rückstromführung sowie dem Potentialausgleich im Nutzungsbereich von Bahnstrecken vorgesehen. Diese Variante stellt eine nicht sichtbare Verbindung innerhalb des Betons dar, indem die auf das Kupferkabel aufgepressten verkupferten Stahllaschen an die erdende Bewehrung angeschweißt werden. Die Flexibilität des Kabels erleichtert dem Anwender den Einbau in die Bewehrung. Diese Erdungsbrücken besitzen zudem eine technische Freigabe der DB Netz AG und können dort somit planungssicher verwendet werden.
Art.-Nr. 419100
D BEB 10 / EBS 15-03-19
Stück
Kupfer-Kabel-Erdungsbrücken D BEB 9 / 10
Kupfer-Kabel-Erdungsbrücken
Die Erdungsbrücken sind zur Erdung, Rückstromführung sowie dem Potentialausgleich im Nutzungsbereich von Bahnstrecken vorgesehen. Diese Variante stellt eine nicht sichtbare Verbindung innerhalb des Betons dar, indem die auf das Kupferkabel aufgepressten verkupferten Stahllaschen an die erdende Bewehrung angeschweißt werden. Eine besonders hohe Flexibilität des Kabels erleichtert dem Anwender ganz wesentlich den Einbau in die Bewehrung. Diese Erdungsbrücken besitzen zudem eine technische Freigabe der DB Netz AG und können dort somit planungssicher verwendet werden.
Die Erdungsbrücken sind zur Erdung, Rückstromführung sowie dem Potentialausgleich im Nutzungsbereich von Bahnstrecken vorgesehen. Diese Variante stellt eine nicht sichtbare Verbindung innerhalb des Betons dar, indem die auf das Kupferkabel aufgepressten verkupferten Stahllaschen an die erdende Bewehrung angeschweißt werden. Eine besonders hohe Flexibilität des Kabels erleichtert dem Anwender ganz wesentlich den Einbau in die Bewehrung. Diese Erdungsbrücken besitzen zudem eine technische Freigabe der DB Netz AG und können dort somit planungssicher verwendet werden.
Art.-Nr. 419101
D BEB 10-FLEX / EBS 15-03-19
Stück
Kupfer-Kabel-Erdungsbrücken D BEB 9 / 10
Kupfer-Kabel-Erdungsbrücken
Die Erdungsbrücken sind zur Erdung, Rückstromführung sowie dem Potentialausgleich im Nutzungsbereich von Bahnstrecken vorgesehen. Diese Variante stellt eine nicht sichtbare Verbindung innerhalb des Betons dar, indem die auf das Kupferkabel aufgepressten verkupferten Stahllaschen an die erdende Bewehrung angeschweißt werden. Die Flexibilität des Kabels erleichtert dem Anwender den Einbau in die Bewehrung. Diese Erdungsbrücken besitzen zudem eine technische Freigabe der DB Netz AG und können dort somit planungssicher verwendet werden.
Die Erdungsbrücken sind zur Erdung, Rückstromführung sowie dem Potentialausgleich im Nutzungsbereich von Bahnstrecken vorgesehen. Diese Variante stellt eine nicht sichtbare Verbindung innerhalb des Betons dar, indem die auf das Kupferkabel aufgepressten verkupferten Stahllaschen an die erdende Bewehrung angeschweißt werden. Die Flexibilität des Kabels erleichtert dem Anwender den Einbau in die Bewehrung. Diese Erdungsbrücken besitzen zudem eine technische Freigabe der DB Netz AG und können dort somit planungssicher verwendet werden.
Art.-Nr. 419505
D BEB 10 - L800 / EBS 15-03-19
Stück
Erdungsverbinder für Großrohrerdung D BEB 11
Erdungsbrücke für Großrohrerdung
Die Erdungsbrücken sind zur Erdung, Rückstromführung sowie dem Potentialausgleich im Nutzungsbereich von Bahnstrecken vorgesehen. Die Variante für Großrohrerdung ist zur Verwendung bei Pfahl- und Großrohrfundamenten vorgesehen. Das Produkt besteht aus einem Kupferkabel mit aufgepresster Hülse und NIRO Anschlussplatte mit integrierten Bohrungen zur Schalungsbefestigung an einem Ende, sowie einem Kabelschuh am gegenüberliegenden Ende. Der Kabelschuh dient dazu eine kurzschlussstromfeste Verbindung zum Pfahl- oder Großrohrfundament herzustellen. Die Flexibilität des Kabels erleichtert dem Anwender den Einbau in die Bewehrung. Diese Erdungsbrücke besitzt zudem eine technische Freigabe der DB Netz AG und kann dort somit planungssicher verwendet werden.
Die Erdungsbrücken sind zur Erdung, Rückstromführung sowie dem Potentialausgleich im Nutzungsbereich von Bahnstrecken vorgesehen. Die Variante für Großrohrerdung ist zur Verwendung bei Pfahl- und Großrohrfundamenten vorgesehen. Das Produkt besteht aus einem Kupferkabel mit aufgepresster Hülse und NIRO Anschlussplatte mit integrierten Bohrungen zur Schalungsbefestigung an einem Ende, sowie einem Kabelschuh am gegenüberliegenden Ende. Der Kabelschuh dient dazu eine kurzschlussstromfeste Verbindung zum Pfahl- oder Großrohrfundament herzustellen. Die Flexibilität des Kabels erleichtert dem Anwender den Einbau in die Bewehrung. Diese Erdungsbrücke besitzt zudem eine technische Freigabe der DB Netz AG und kann dort somit planungssicher verwendet werden.
Art.-Nr. 419110
D BEB 11 / EBS 15-03-27
Stück
Erdungsverbinder für Großrohrerdung D BEB 11
Erdungsbrücke für Großrohrerdung
Die Erdungsbrücken sind zur Erdung, Rückstromführung sowie dem Potentialausgleich im Nutzungsbereich von Bahnstrecken vorgesehen. Die Variante für Großrohrerdung ist zur Verwendung bei Pfahl- und Großrohrfundamenten vorgesehen. Das Produkt besteht aus einem Kupferkabel mit aufgepresster Hülse und NIRO Anschlussplatte mit integrierten Bohrungen zur Schalungsbefestigung an einem Ende, sowie einem Kabelschuh am gegenüberliegenden Ende. Der Kabelschuh dient dazu eine kurzschlussstromfeste Verbindung zum Pfahl- oder Großrohrfundament herzustellen. Die Flexibilität des Kabels erleichtert dem Anwender den Einbau in die Bewehrung. Diese Erdungsbrücke besitzt zudem eine technische Freigabe der DB Netz AG und kann dort somit planungssicher verwendet werden.
Die Erdungsbrücken sind zur Erdung, Rückstromführung sowie dem Potentialausgleich im Nutzungsbereich von Bahnstrecken vorgesehen. Die Variante für Großrohrerdung ist zur Verwendung bei Pfahl- und Großrohrfundamenten vorgesehen. Das Produkt besteht aus einem Kupferkabel mit aufgepresster Hülse und NIRO Anschlussplatte mit integrierten Bohrungen zur Schalungsbefestigung an einem Ende, sowie einem Kabelschuh am gegenüberliegenden Ende. Der Kabelschuh dient dazu eine kurzschlussstromfeste Verbindung zum Pfahl- oder Großrohrfundament herzustellen. Die Flexibilität des Kabels erleichtert dem Anwender den Einbau in die Bewehrung. Diese Erdungsbrücke besitzt zudem eine technische Freigabe der DB Netz AG und kann dort somit planungssicher verwendet werden.
Art.-Nr. 419506
D BEB 11 - L1000 / EBS 15-03-27
Stück
CuStAl-Kabel-Erdungsverbinder D BEB 29
Kupfer-Stahl-Aluminium-Kabel-Erdungsverbinder
Die Erdungsverbinder sind zur Erdung, Rückstromführung sowie dem Potentialausgleich im Nutzungsbereich von Bahnstrecken vorgesehen. Die halogenfreie Variante D BEB 29 - zum äußeren Verbinden von Erdungspunkten und anderen Anschlußelementen wird mit einer Kabelschuhversion für M16-Anschlüsse ausgeführt. Dieser Erdungsverbinder besteht aus einem Kupfer-Stahl-Aluminium-Kabel und stellt somit eine präventive Diebstahlschutzmaßnahme dar. Dieser Erdungsverbinder besitzt zudem eine technische Freigabe der DB Netz AG und kann dort somit planungssicher verwendet werden.
Die Erdungsverbinder sind zur Erdung, Rückstromführung sowie dem Potentialausgleich im Nutzungsbereich von Bahnstrecken vorgesehen. Die halogenfreie Variante D BEB 29 - zum äußeren Verbinden von Erdungspunkten und anderen Anschlußelementen wird mit einer Kabelschuhversion für M16-Anschlüsse ausgeführt. Dieser Erdungsverbinder besteht aus einem Kupfer-Stahl-Aluminium-Kabel und stellt somit eine präventive Diebstahlschutzmaßnahme dar. Dieser Erdungsverbinder besitzt zudem eine technische Freigabe der DB Netz AG und kann dort somit planungssicher verwendet werden.
Art.-Nr. 419290
D BEB 29 / EBS 15-03-17
Stück
CuStAl-Kabel-Erdungsverbinder D BEB 29
Kupfer-Stahl-Aluminium-Kabel-Erdungsverbinder
Die Erdungsverbinder sind zur Erdung, Rückstromführung sowie dem Potentialausgleich im Nutzungsbereich von Bahnstrecken vorgesehen. Die halogenfreie und flammwidrige Variante D BEB 29-NF - zum äußeren Verbinden von Erdungspunkten und anderen Anschlußelementen wird mit einer Kabelschuhversion für M16-Anschlüsse ausgeführt. Dieser Erdungsverbinder besteht aus einem Kupfer-Stahl-Aluminium-Kabel und stellt somit eine präventive Diebstahlschutzmaßnahme dar. Dieser Erdungsverbinder besitzt zudem eine technische Freigabe der DB Netz AG und kann dort somit planungssicher verwendet werden. Durch die halogenfreie und flammwidrige Ausführung ist der Einsatz in Tunneln gemäß EU-Verordnung möglich.
Die Erdungsverbinder sind zur Erdung, Rückstromführung sowie dem Potentialausgleich im Nutzungsbereich von Bahnstrecken vorgesehen. Die halogenfreie und flammwidrige Variante D BEB 29-NF - zum äußeren Verbinden von Erdungspunkten und anderen Anschlußelementen wird mit einer Kabelschuhversion für M16-Anschlüsse ausgeführt. Dieser Erdungsverbinder besteht aus einem Kupfer-Stahl-Aluminium-Kabel und stellt somit eine präventive Diebstahlschutzmaßnahme dar. Dieser Erdungsverbinder besitzt zudem eine technische Freigabe der DB Netz AG und kann dort somit planungssicher verwendet werden. Durch die halogenfreie und flammwidrige Ausführung ist der Einsatz in Tunneln gemäß EU-Verordnung möglich.
Art.-Nr. 419291
D BEB 29-NF / EBS 15-03-17
Stück
CuStAl-Kabel-Erdungsverbinder D BEB 29
Kupfer-Stahl-Aluminium-Kabel-Erdungsverbinder
Die Erdungsverbinder sind zur Erdung, Rückstromführung sowie dem Potentialausgleich im Nutzungsbereich von Bahnstrecken vorgesehen. Die halogenfreie Variante D BEB 29 - zum äußeren Verbinden von Erdungspunkten und anderen Anschlußelementen wird mit einer Kabelschuhversion für M12- und M16-Anschlüsse ausgeführt. Dieser Erdungsverbinder besteht aus einem Kupfer-Stahl-Aluminium-Kabel und stellt somit eine präventive Diebstahlschutzmaßnahme dar. Dieser Erdungsverbinder besitzt zudem eine technische Freigabe der DB Netz AG und kann dort somit planungssicher verwendet werden.
Die Erdungsverbinder sind zur Erdung, Rückstromführung sowie dem Potentialausgleich im Nutzungsbereich von Bahnstrecken vorgesehen. Die halogenfreie Variante D BEB 29 - zum äußeren Verbinden von Erdungspunkten und anderen Anschlußelementen wird mit einer Kabelschuhversion für M12- und M16-Anschlüsse ausgeführt. Dieser Erdungsverbinder besteht aus einem Kupfer-Stahl-Aluminium-Kabel und stellt somit eine präventive Diebstahlschutzmaßnahme dar. Dieser Erdungsverbinder besitzt zudem eine technische Freigabe der DB Netz AG und kann dort somit planungssicher verwendet werden.
Art.-Nr. 419511
D BEB 29 M12 M16 / EBS 15-03-17
Stück
CuStAl-Kabel-Erdungsverbinder D BEB 29
Kupfer-Stahl-Aluminium-Kabel-Erdungsverbinder
Die Erdungsverbinder sind zur Erdung, Rückstromführung sowie dem Potentialausgleich im Nutzungsbereich von Bahnstrecken vorgesehen. Die halogenfreie und flammwidrige Variante D BEB 29-NF - zum äußeren Verbinden von Erdungspunkten und anderen Anschlußelementen wird mit einer Kabelschuhversion für M12- und M16-Anschlüsse ausgeführt. Dieser Erdungsverbinder besteht aus einem Kupfer-Stahl-Aluminium-Kabel und stellt somit eine präventive Diebstahlschutzmaßnahme dar. Dieser Erdungsverbinder besitzt zudem eine technische Freigabe der DB Netz AG und kann dort somit planungssicher verwendet werden. Durch die halogenfreie und flammwidrige Ausführung ist der Einsatz in Tunneln gemäß EU-Verordnung möglich.
Die Erdungsverbinder sind zur Erdung, Rückstromführung sowie dem Potentialausgleich im Nutzungsbereich von Bahnstrecken vorgesehen. Die halogenfreie und flammwidrige Variante D BEB 29-NF - zum äußeren Verbinden von Erdungspunkten und anderen Anschlußelementen wird mit einer Kabelschuhversion für M12- und M16-Anschlüsse ausgeführt. Dieser Erdungsverbinder besteht aus einem Kupfer-Stahl-Aluminium-Kabel und stellt somit eine präventive Diebstahlschutzmaßnahme dar. Dieser Erdungsverbinder besitzt zudem eine technische Freigabe der DB Netz AG und kann dort somit planungssicher verwendet werden. Durch die halogenfreie und flammwidrige Ausführung ist der Einsatz in Tunneln gemäß EU-Verordnung möglich.
Art.-Nr. 419512
D BEB 29-NF M12 M16 / EBS 15-03-17
Stück
CuStAl-Kabel-Erdungsverbinder D BEB 29
Kupfer-Stahl-Aluminium-Kabel-Erdungsverbinder in rechtsgedrehter Ausführung
Die Erdungsverbinder sind zur Erdung, Rückstromführung sowie dem Potentialausgleich im Nutzungsbereich von Bahnstrecken vorgesehen. Die halogenfreie Variante D BEB 29 - zum äußeren Verbinden von Erdungspunkten und anderen Anschlußelementen wird mit einer Kabelschuhversion für M16-Anschlüsse ausgeführt. Dieser Erdungsverbinder besteht aus einem Kupfer-Stahl-Aluminium-Kabel und stellt somit eine präventive Diebstahlschutzmaßnahme dar. Dieser Erdungsverbinder besitzt zudem eine technische Freigabe der DB Netz AG und kann dort somit planungssicher verwendet werden.
Die Erdungsverbinder sind zur Erdung, Rückstromführung sowie dem Potentialausgleich im Nutzungsbereich von Bahnstrecken vorgesehen. Die halogenfreie Variante D BEB 29 - zum äußeren Verbinden von Erdungspunkten und anderen Anschlußelementen wird mit einer Kabelschuhversion für M16-Anschlüsse ausgeführt. Dieser Erdungsverbinder besteht aus einem Kupfer-Stahl-Aluminium-Kabel und stellt somit eine präventive Diebstahlschutzmaßnahme dar. Dieser Erdungsverbinder besitzt zudem eine technische Freigabe der DB Netz AG und kann dort somit planungssicher verwendet werden.
Art.-Nr. 419513
D BEB 29 R / EBS 15-03-17
Stück
CuStAl-Kabel-Erdungsverbinder D BEB 29
Kupfer-Stahl-Aluminium-Kabel-Erdungsverbinder in linksgedrehter Ausführung
Die Erdungsverbinder sind zur Erdung, Rückstromführung sowie dem Potentialausgleich im Nutzungsbereich von Bahnstrecken vorgesehen. Die halogenfreie Variante D BEB 29 - zum äußeren Verbinden von Erdungspunkten und anderen Anschlußelementen wird mit einer Kabelschuhversion für M16-Anschlüsse ausgeführt. Dieser Erdungsverbinder besteht aus einem Kupfer-Stahl-Aluminium-Kabel und stellt somit eine präventive Diebstahlschutzmaßnahme dar. Dieser Erdungsverbinder besitzt zudem eine technische Freigabe der DB Netz AG und kann dort somit planungssicher verwendet werden.
Die Erdungsverbinder sind zur Erdung, Rückstromführung sowie dem Potentialausgleich im Nutzungsbereich von Bahnstrecken vorgesehen. Die halogenfreie Variante D BEB 29 - zum äußeren Verbinden von Erdungspunkten und anderen Anschlußelementen wird mit einer Kabelschuhversion für M16-Anschlüsse ausgeführt. Dieser Erdungsverbinder besteht aus einem Kupfer-Stahl-Aluminium-Kabel und stellt somit eine präventive Diebstahlschutzmaßnahme dar. Dieser Erdungsverbinder besitzt zudem eine technische Freigabe der DB Netz AG und kann dort somit planungssicher verwendet werden.
Art.-Nr. 419514
D BEB 29 L / EBS 15-03-17
Stück
Klebepad
Das Klebepad wird verwendet, um die Bahnerdungsprodukte mittels einer Klebeverbindung an der Schalung zu befestigen. Das Klebepad lässt sich an der NIRO-Anschlußplatte des D BEB 0 aufkleben, um anschließed mit der Schalung selbst verbunden zu werden.
Art.-Nr. 419900
D KLP D50 BEB
Stück
Erdungsaufkleber
Der Erdungsaufkleber ist als Ersatzteil zur Kennzeichnung von Bahnerdungsprodukten im eingebauten Zustand vorgesehen. Dieser lässt sich einfach auf die NIRO-Anschlußplatte aufkleben. Eine solche Kennzeichnung kann für die Erdungsbrücken D BEB 1 bis 8 sowie für die Variante D BEB 11 für Großrohrerdungen vorgenommen werden, falls der werksseitig angebrachte Aufkleber nicht mehr vorhanden bzw. beschädigt ist.
Art.-Nr. 419901
D EAK D50 BEB
Stück
Sechskantschrauben
Art.-Nr. 561931
D SKS M16X30 V4A
Stück
Sechskantmutter
Art.-Nr. 419903
D SKM M16 V4A
Stück
Unterlegscheibe
Art.-Nr. 419904
D SCH A17 V4A
Stück